 
                            FIAT presentó la primera imagen de su nueva pick up que saldrá al mercado en el 2016, proveniente del Brasil. Ya muchos se venía rumorando que la marca estaba preparando una pick-up para el Mercosur, pero esta es la primera vez que podemos ver sus líneas de forma completa.
Su posicionamiento en el mercado será bastante particular, ya que se ubicará por encima de la Strada (RAM 700) pero quedará por debajo de los principales referentes entre las pick-ups medianas, como: Toyota Hilux, Volkswagen Amarok, Ford Ranger, Nissan NP300 Frontier y la recientemente anunciada Renault Alaskan, futura pick-up del rombo.
Esto sucede porque la FIAT Toro está basada en la misma plataforma que utiliza el Jeep Renegade, pero ¿cuál es su principal competidor entonces? Nada menos que la flamante Renault Oroch, la versión pick-up de la Duster que acaba de presentarse en su país de origen (Brasil) y que ya probamos en exclusiva (ver prueba).
Sin embargo, la utilización de esta plataforma no le impide resignar capacidad de carga frente a rivales de segmentos superiores, ya que según la marca, la FIAT Toro (cuya única especificación técnica confirmada es su longitud de 4,915 mm) será capaz de cargar una tonelada.
En la estética de la FIAT Toro podemos apreciar un frente que utiliza el mismo lenguaje de FCA (FIAT Chrysler Automobile) visto en la nueva Jeep Cherokee, con un grupo óptico dividido y líneas de fascia muy agresivas, aunque en el caso de la FIAT agregando un poco del dialecto estilístico carioca.
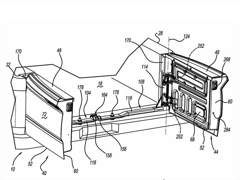
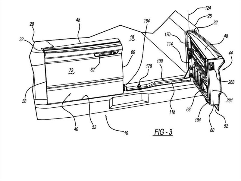
Si bien la única imagen publicada por FIAT nos muestra a su ¾ frontal, empleados de la fábrica en Brasil han divulgado mediante las redes sociales el singular portón trasero con el que cuenta esta camioneta, de apertura tipo “ropero” con dos puertas que pueden abrirse horizontalmente o bajarse individualmente.
Con respecto a la motorización aún no hay nada confirmado, aunque con saber que se basa en la plataforma del Jeep Renegade podemos suponer que compartirá también sus motorizaciones, el E.torQ Evo 1.8 L de 128 hp y 125 lb-pie y el Tigershark de 2.4 L y una potencia de 184 hp y 174 lb-pie de torque. Si la marca decide posicionarla como un vehículo más orientado al confort que al trabajo, quizás también (al igual que el Renegade) cuente una versión automática con transmisión de 9 velocidades.
Sin dudas la FIAT Toro será la mayor apuesta de la marca italiana en el próximo año, habrá que ver si el mercado brasileño, -que en el 2015 sufre una estrepitosa caída- puede recomponerse para el 2016.
 
                                 
                                         
                                     
                                     
                             
                             
                             
                             
                            